Home
News
Nintendo Switch 2
Nintendo Switch
Reviews
Nintendo Switch 2
Nintendo Switch
Retro Reviews
Gear Reviews
Magazine
Podcast
Staff
Home
News
Nintendo Switch 2
Nintendo Switch
Reviews
Nintendo Switch 2
Nintendo Switch
Retro Reviews
Gear Reviews
Magazine
Podcast
Staff
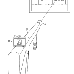
New Sony patent reminds us of the Wii U
By
James Higginbotham
•
14 years ago
•
Wii U
Not exactly the same but has a lot of similarities. What do you think?
Link
Submit a Comment
Cancel reply
Top